QR kode
Produkter
Kontakt os


Fax
+86-574-87168065

E-mail

Adresse
Luotuo Industrial Area, Zhenhai District, Ningbo City, Kina
Hvis du kører tunge maskiner - som stålrullende møller, der slukker metal, skifter alle, kraner løfter masser af materiale eller minedrift, der kæmper med støv og pres under jorden - du har brug for en kobling, der ikke lader dig ned. Det er præcis, hvad Raydafons SWC-BH Standard Flex Welding Type Universal-kobling er bygget til: pålidelig drejningsmomentoverførsel, selv når jobbet bliver ru.
Lad os først tale om dets design. Det svejste åg er ikke kun en funktion-det er en spiludveksler. I modsætning til boltede åge, der kan løsne sig over tid, er denne svejsede faste stof, så der er ingen risiko for, at dele ryster løs, når dit maskiner arbejder hårdt. Og det passer også til en række opsætninger med gyrationsdiametre fra 180 mm til 620 mm-ikke nødvendigt at jage efter en en-størrelse-passer-ingen mulighed. Som en standard Flex Universal -kobling håndterer den op til 15 grader af vinkelforstærkning, hvilket betyder, at hvis dine aksler ikke er perfekt indrettet (og lad os være reelle, er de sjældent), det holder stadig strømmen i bevægelse. Selv når drejningsmomentet rammer 1250 kN · m - seriøs effekt - forbliver det stabilt, ingen stuters, ingen dråber.
Vi skimpede heller ikke på materialer. Denne ting er lavet med 35crmo stål-høje styrke ting, der modstår slid, selv når det bliver banket rundt i en mine eller opvarmet i nærheden af en rullende mølle. Plus, vi lægger præcisionsnålelejer, så det bevæger sig glat, skærer ned på friktion og varer langt længere end billigere koblinger. Derfor er det en gå til universelle koblinger til tunge maskiner-det fungerer ikke bare i et par uger; Det klæber rundt og holder dit udstyr i gang. Og hvis du har brug for svejste universelle koblinger til industrielle applikationer? Dette er det - det svejste design håndterer vibrationer og stress bedre end boltede alternativer, så du bruger mindre tid på at fikse og mere tid på at arbejde.
Hos Raydafon laver vi disse i Kina, men vi skærer ikke hjørner på kvalitet. Hvert trin følger ISO 9001 -standarder - vi kontrollerer stålet, vi inspicerer svejsninger, vi tester lejerne - så du ved, at du får en kobling, der opfylder globale kvalitetsregler. Og hvis din opsætning er lidt anderledes? Vi laver brugerdefinerede justeringer - justerer størrelsen, justerer specifikationerne - uanset hvad du har brug for for at få det til at passe. Bedste del? Det er ikke prissat som en luksusdel. Du får en holdbar universel kobling, der fungerer hårdt uden at betale en formue. For alle, der ikke har råd til nedetid, er denne SWC-BH-kobling den slags pålidelige stykke, der holder dit maskiner i bevægelse, dag ind og dag ud.
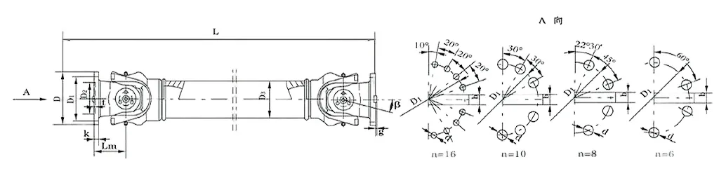
| Ingen. | Gyrationsdiameter d mm | Nominelt drejningsmoment Tn Kn · m | Akser fold vinkel β (°) | Træt drejningsmoment Tf Kn · m | Størrelse (mm) | Roterende inerti kg.m2 | Vægt (kg) | |||||||||||
| Lmin | D1 (JS11) | D2 (H7) | D3 | Lm | n-d | k | t | b (H9) | g | Lmin | Øge 100 mm | Lmin | Øge 100 mm | |||||
| SWC100WH | 100 | 1.25 | 0.63 | 25 ° | 243 | 84 | 57 | 60 | 55 | 6-9 | 7 | 2.5 | - | - | 0.0039 | 0.00019 | 4.5 | 0.35 |
| SWC120WH | 120 | 2.5 | 1.25 | 25 ° | 307 | 102 | 75 | 70 | 65 | 8-11 | 8 | 2.5 | - | - | 0.0096 | 0.00044 | 7.7 | 0.55 |
| SWC150WH | 150 | 5 | 25 | 25 ° | 350 | 130 | 90 | 89 | 80 | 8-13 | 10 | 3 | - | - | 0.371 | 0.00157 | 18 | 24.5 |
| SWC180WH | 180 | 12.5 | 6.3 | 25 ° | 180 | 155 | 105 | 114 | 110 | 8-17 | 17 | 5 | - | - | 0.15 | 0.007 | 48 | 2.8 |
| SWC225WH | 225 | 40 | 20 | 15 ° | 520 | 196 | 135 | 152 | 120 | 8-17 | 20 | 5 | 32 | 9 | 0.365 | 0.0234 | 78 | 4.9 |
| SWC250WH | 250 | 63 | 31.5 | 15 ° | 620 | 218 | 150 | 168 | 140 | 8-19 | 25 | 6 | 40 | 12.5 | 0.817 | 0.0277 | 124 | 5.3 |
| SWC285WH | 285 | 90 | 45 | 15 ° | 720 | 245 | 170 | 194 | 160 | 8-21 | 27 | 7 | 40 | 15 | 1.756 | 0.051 | 185 | 6.3 |
| SWC315WH | 315 | 125 | 63 | 15 ° | 805 | 280 | 185 | 219 | 219 | 10-23 | 32 | 8 | 40 | 15 | 2.893 | 0.0795 | 262 | 8 |
| SWC350WH | 350 | 180 | 90 | 15 ° | 875 | 310 | 210 | 267 | 194 | 10-23 | 35 | 8 | 50 | 16 | 5.013 | 0.2219 | 374 | 15 |
| SWC390WH | 390 | 250 | 125 | 15 ° | 955 | 345 | 235 | 267 | 215 | 10-25 | 40 | 8 | 70 | 18 | 8.406 | 0.2219 | 506 | 15 |
| SWC440WH | 440 | 355 | 180 | 15 ° | 1155 | 390 | 255 | 325 | 260 | 16-28 | 42 | 10 | 80 | 20 | 15.79 | 0.4744 | 790 | 21.7 |
| SWC490WH | 490 | 500 | 250 | 15 ° | 1205 | 435 | 275 | 325 | 270 | 16-31 | 47 | 12 | 90 | 22.5 | 26.54 | 0.4744 | 1014 | 21.7 |
| SWC550WH | 550 | 710 | 355 | 15 ° | 1355 | 492 | 320 | 426 | 325 | 16-31 | 50 | 12 | 100 | 22.5 | 48.32 | 1.357 | 1526 | 34 |
Hvis du er træt af at håndtere nøjeregnende koblinger, der bremser dit arbejde eller går i stykker, når du har mest brug for dem, er Raydafons SWC-WH uden flex-svejsningstype universel kobling en spiludveksler. Det er fyldt med frynsegoder, der gør det til et øverste valg for enhver, der har brug for glat drejningsmomenttransmission i mekaniske systemer - ingen forvirrende svejsetrin, bare solid ydelse, der passer lige ind i din arbejdsgang.
For det første er det lettere at installere denne ting, end du måske tror. I modsætning til svejste koblinger, der tvinger dig til at få ekstra værktøjer eller vente på, at svejsninger skal indstilles, bruger SWC-WH et bolt-on-design. Du kan slot det ind i din eksisterende opsætning hurtigt, og når det er tid til vedligeholdelse? At tage det fra hinanden er en leg, så dit industrielle gear bruger mindre tid på tomgang. Derfor er det sådan en stor alsidig universal-ledningskobling med højt drejningsmoment-ingen nedetid hovedpine, bare kom ind, ordne det, du har brug for, og kom tilbage på arbejde.
Holdbarhedsmæssigt er det bygget til at hårdt ud. Vi bruger tunge materialer, der håndterer store belastninger og konstante vibrationer uden flinching-perfekt til travle industrielle pletter, hvor udstyr aldrig rigtig får en pause. Og da der ikke er nogen svejsning, behøver du ikke at bekymre dig om de svage pletter, der dukker op, når svejsninger slides ud over tid. Dette er ikke en kobling, der skal udskiftes hvert par måneder; Det er en pålidelig universel fælles kobling til industrielle maskiner, der klæber rundt og holder dine operationer stabile.
Forkert justeringer? Intet problem. Skaft forbliver aldrig perfekt opstillet, især i bil- eller transportsystemer, men SWC-WH håndterer vinkel, aksiale og radiale afvigelser som en professionel. Det er den slags drivaksel, som universal fælles kobling, der holder strømmen, der bevæger sig glat, selv når justeringen bliver wonky - ingen rykker, ingen dråber, bare ensartet ydelse.
Og lad os tale omkostninger. Svejsning tilføjer ekstra arbejds- og materialegebyrer, men denne kobling springer over alt det. Du får et kvalitetsprodukt uden overforbrug, hvilket er en stor sejr for ethvert budget. Selv på vanskelige steder som marine opsætninger, hvor korrosion er en konstant trussel, holder den op som en pålidelig marin universal fælles kobling - der er mod saltvand, let på din tegnebog.
Hvis du er i vedvarende energi, passer denne kobling også lige ind. Det er en solid universel fælles kobling til udstyr til vedvarende energi, der bevæger strømmen effektivt med næppe noget affald. Plus, det er let, så det tynger ikke dit system - at holde tingene til at køre bæredygtigt uden at ofre ydeevne.
Hos Raydafon sælger vi ikke bare koblinger - vi laver dem, der passer til dine behov. SWC-WH kan tilpasses, så det fungerer nøjagtigt, hvordan du vil have det. Hvis du er nysgerrig efter, hvordan det kan gøre dine operationer glattere, skal du bare slå vores team op. Vi leder dig igennem det, ingen jargon - bare lige tale om, hvad denne kobling kan gøre for dig.
Raydafons SWC-WH uden flex svejsningstype universel kobling fungerer fra den grundlæggende know-how af Cardan fælles mekanik-men vi har finjusteret den for at ramme hårdere for industrielle job. Hele pointen? Få drejningsmoment, der bevæger sig glat mellem to aksler, der ikke er perfekt foret, selv når de er i en vinkel. Som en specialbygget SWC Cardan Shaft Universal Joint-kobling bruger den et krydsformet stykke i midten for at holde rotationseffekt, der flyder stabilt-udtrykt hvorfor det er sådan en gå-til-højt-drejningsmoment med universal ledkobling til hårdt arbejde som rullende møller eller hejsning af maskiner.
Lad os nedbryde kernen i, hvordan det fungerer: der er to gaffel åger, og de er forbundet med et centralt kryds (vi kalder det en edderkop). Denne opsætning lader ågerne dreje i flere retninger - så selvom akslerne opvejes af op til 25 ° (det er dens maksimale akse foldvinkel), går drejningsmomentet stadig med jævnt. Det har også specifikationer til at sikkerhedskopiere det: gyrationsdiametre spænder fra φ58 til φ620, og det håndterer det nominelle drejningsmoment fra 0,15 til 1000 kN · m. Når du bruger det som en kraftig universel fælles kobling til rullende mølleoperationer, betyder dette design input rotation bliver til outputbevægelse uden problemer-disse artikulerede led drejer på egen hånd for at kompensere for forkert justeringer, ingen afbrydelser.
Hvad gør delen "Uden Flex Welding" -del? Vi byttede svejsninger ud for boltede eller fastklemte forbindelser. Svejsninger kan være svage pletter over tid, men disse fastgørelsesmidler skærer ned på fejlrisici - og de gør det også lettere at sætte koblingen sammen. Denne industrielle universelle fælles kobling har også et opgraderet gaffelhoveddesign, der forhindrer bolte i at løsne og øge sin strukturelle styrke med 30%-50%. Det er en stor ting for krævende pletter som miner eller byggepladser, hvor det fungerer som en holdbar SWC Universal Joint Shaft -kobling - at holde sammen under tunge belastninger uden at give ud.
Effektivitet er en anden sejr her: Den rammer op til 98,6% transmissionseffektivitet. Vi konstruerede enhver del til at skære ned på friktion og energiaffald-så det er ikke nogen overraskelse, at det er en effektiv universel fælles kobling til stor kraftoverførsel i industrielle opsætninger med høj effekt. Og det kører stille: normalt 30-40 dB (A). Det er takket være afbalanceret rotation og indbygget vibrationsdæmpning-hvilket gør det til et universelt ledende kobling med lav støj til steder, hvor støj er et problem. Plus, det holder energiomkostningerne nede, så det kontrollerer kassen for energibesparende universelle fælles koblingsbehov også.
I tunge maskiner universelle fælles koblingssystemer betyder det mest: SWC-WH spreder kræfter jævnt ud over alle dens dele. Intet enkelt stykke tager for meget belastning, hvilket betyder færre sammenbrud og en længere levetid. Hos Raydafon bygger vi ikke bare denne kobling til at imødekomme specifikationer - vi skræddersy det til at arbejde for dit job, hvad enten det er robuste tunge maskiner eller specialiserede industrielle opsætninger. Hvis du vil finjustere det for at få dit system til at køre glattere eller vare længere, skal du bare tale med vores team - vi hjælper dig med at få et opsætning, der passer nøjagtigt til det, du har brug for.
⭐⭐⭐⭐⭐ Zhang Wei, Mechanical Engineer, Beijing Industrial Machinery Co., Ltd.
Vi har haft Raydafons SWC-WH uden flex-svejsetype universel kobling på vores produktionsudstyr i et par måneder nu, og det har været en stabil kunstner-især når vi skubber vores maskiner til at håndtere høje belastninger. Det, jeg virkelig værdsætter, er dens robuste bygning: selv på de lange, krævende skift, hvor andre dele måske begynder at vakle, holder denne kobling tingene i gang glat - ingen tilfældige vibrationer, ingen pludselige fejl, der kaster hele vores linje af.
Installation var også en leg. Vores team behøvede ikke at bruge timer på at finde ud af komplekse trin; Vi fik det monteret hurtigt og behøvede ikke at finpusse det siden. For tunge gear som vores er pålidelighed og kvalitet ikke-omsættelig, og denne kobling kontrollerer begge kasser. Raydafons beviste, at de er en partner, vi kan stole på her - vi er virkelig glade for, hvordan dette produkt holder op.
⭐⭐⭐⭐⭐ John Smith, plantechef, Florida Manufacturing, USA
Jeg satte Raydafons SWC-WH-kobling i brug på vores Florida-facilitet for et par måneder tilbage, og det har været nøjagtigt, hvad vi havde brug for-enkle, ikke-noget og konsekvent effektivt. Kraftoverførsel forbliver stabil, hvilket er nøglen til at holde vores produktion i tempo, og vi har ikke været nødt til at røre ved den for vedligeholdelse en gang. Det er en stor sejr for os; Mindre tid på at fikse dele betyder mere tid på at få arbejde gjort.
Selv når vi kører maskinerne hårdt, under høj stress, flinker denne kobling ikke - det fortsætter bare. Installation var også ligetil; Vores teknik havde det oprettet på kort tid. Og når du parrer den ydelse med en rimelig pris? Det er en solid værdi. Plus, Raydafons kundesupport var førsteklasses, da vi havde et hurtigt spørgsmål-de kom hurtigt tilbage til os. Vi vil uden tvivl fortsætte med at bruge deres produkter nede på linjen.
⭐⭐⭐⭐⭐ Roberto Silva, Operations Director, São Paulo Engineering Solutions, Brasilien
Vi har samarbejdet med Raydafon i et stykke tid nu, men deres SWC-WH uden flex-kobling har virkelig stod ud i vores operationer-det er bevist, at det er værd gang på gang. Den første ting, du bemærker, er dens solide konstruktion; Det føles bygget til at vare, og det betyder pålidelig ydelse på vores maskiner.
Før vi skiftede til denne kobling, beskæftigede vi os med hyppig nedetid fra fejlagtige justeringsproblemer og for tidligt slid på vores gamle dele. Nu? Disse problemer er væk. Det er skåret ned på nedetid, hvilket har været et enormt løft for produktiviteten. Og installation? Super Easy - vores team spildte ikke tidsfejlfinding af opsætning. For ethvert firma, der har brug for kraftoverførselsdele, de kan stole på, er denne en no-brainer. Jeg vil absolut anbefale det.
⭐⭐⭐⭐⭐ Peter Müller, teknisk vejleder, Stuttgart Manufacturing GmbH, Tyskland
Vi har brugt Raydafons SWC-WH-kobling i vores Stuttgart-produktionsfacilitet i over seks måneder, og det har været fejlfrit-seriøst, ikke et enkelt problem hele tiden. Dens design er ligetil, hvilket gør installationen til en cinch; Vores team havde det monteret og klar til at gå på ingen tid, ingen komplicerede trin eller specialværktøjer, der var nødvendige.
Hvad der virkelig imponerer mig, er kvaliteten. Svejsningen er ren og stærk, og materialerne føles høj kvalitet-du kan fortælle, at de ikke skar hjørner. Det holdes perfekt under regelmæssig brug, der viser nul tegn på slid, selv efter måneder med kontinuerlig drift. Vi er mere end tilfredse med, hvordan dette produkt fungerer, og det er allerede på vores liste, der skal bruges til fremtidige projekter.
Adresse
Luotuo Industrial Area, Zhenhai District, Ningbo City, Kina
Tlf


+86-574-87168065


Luotuo Industrial Area, Zhenhai District, Ningbo City, Kina
Copyright © Raydafon Technology Group Co., begrænsede alle rettigheder forbeholdt.
Links | Sitemap | RSS | XML | Privatlivspolitik |
