QR kode
Produkter
Kontakt os


Fax
+86-574-87168065

E-mail

Adresse
Luotuo Industrial Area, Zhenhai District, Ningbo City, Kina
Raydafons SWC-BH standard flex-svejsningstype Universal-kobling er konstrueret specifikt til tungt drejningsmomentoverførsel i krævende tunge maskinscenarier-tænk rullende møller, kraner og minedrift, der fungerer under konstant høj stress.
Det leveres med et svejset åg som en nøgle -designfunktion, og dens gyrationsdiametre spænder over et praktisk interval: fra 180 mm helt op til 620 mm. Det, der adskiller det for hårde job, er dens evne til at håndtere vinkelforstærkninger på op til 15 grader, plus det kan påtage sig drejningsmomentbelastninger så højt som 1250 kN · M - begge kritiske for at holde operationerne stabile, selv under barske arbejdsforhold.
Bygningskvaliteten er fokuseret på holdbarhed: koblingen bruger højstyrke 35CRMO stål til langvarig sejhed, parret med præcisionsnålelejer for at sikre glat, pålidelig ydelse over tid. Dette gør det til et valg til to nøglebehov: universelle koblinger, der er skræddersyet til tunge maskiner, og svejste universelle koblinger, der er egnet til applikationer i industriel kvalitet.
Raydafon fremstiller denne kobling i Kina, og al produktion følger ISO 9001 -standarder for at garantere ensartet kvalitet. Oven i det tilbyder det brugerdefinerede muligheder, der passer til specifikke krav - alle til priser, der forbliver konkurrencedygtige for virksomheder, der leder efter både pålidelighed og værdi.
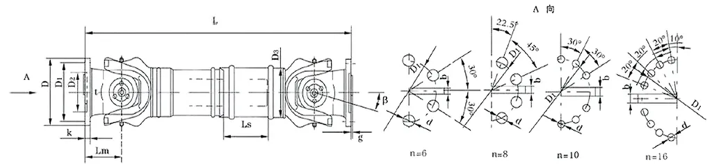
| Ingen. | Gyrationsdiameter d mm | Nominelt drejningsmoment Tn Kn · m | Akser fold vinkel β (°) | Træt drejningsmoment Tf Kn · m | Flex -mængde Ls mm | Størrelse (mm) | Roterende inerti kg.m2 | Vægt (kg) | |||||||||||
| Lmin | D1 (JS11) | D2 (H7) | D3 | Lm | n-d | k | t | B (H9) | g | Lmin | Øge 100 mm | Lmin | Øge 100 mm | ||||||
| SWC58BH | 58 | 0.15 | 0.075 | ≤22 | 35 | 325 | 47 | 30 | 38 | 35 | 4-5 | 3.5 | 1.5 | - | - | - | - | 2.2 | - |
| SWC65BH | 65 | 0.25 | 0.125 | ≤22 | 40 | 360 | 52 | 35 | 42 | 46 | 4-6 | 4.5 | 1.7 | - | - | - | - | 3 | - |
| SWC75BH | 75 | 0.5 | 0.25 | ≤22 | 40 | 395 | 62 | 42 | 50 | 58 | 6-6 | 5.5 | 2 | - | - | - | - | 5 | - |
| SWC90BH | 90 | 1 | 0.5 | ≤22 | 45 | 435 | 74.5 | 47 | 54 | 58 | 4-8 | 6 | 2.5 | - | - | - | - | 6.6 | - |
| SWC100BH | 100 | 1.5 | 0.75 | ≤25 | 55 | 390 | 84 | 57 | 60 | 58 | 6-9 | 7 | 2.5 | - | - | 0.0044 | 0.00019 | 6.1 | 0.35 |
| SWC120BH | 120 | 2.5 | 1.25 | ≤25 | 80 | 485 | 102 | 75 | 70 | 68 | 8-11 | 8 | 2.5 | - | - | 0.0109 | 0.00044 | 10.8 | 0.55 |
| SWC150BH | 150 | 5 | 2.5 | ≤25 | 80 | 590 | 13 | 90 | 89 | 80 | 8-13 | 10 | 3 | - | - | 0.0423 | 0.00157 | 24.5 | 0.85 |
| SWC160BH | 160 | 10 | 5 | ≤25 | 80 | 660 | 137 | 100 | 95 | 110 | 8-17 | 15 | 3 | 20 | 12 | 0.145 | 0.006 | 68 | 1.72 |
| SWC180BH | 180 | 20 | 10 | ≤25 | 100 | 810 | 155 | 105 | 114 | 130 | 8-17 | 17 | 5 | 24 | 14 | 0.175 | 0.007 | 70 | 2.8 |
| SWC200BH | 200 | 32 | 16 | ≤15 | 110 | 860 | 170 | 120 | 127 | 135 | 8-17 | 19 | 5 | 28 | 16 | 0.31 | 0.013 | 86 | 3.6 |
| SWC225BH | 225 | 40 | 20 | ≤15 | 140 | 920 | 196 | 135 | 152 | 120 | 8-17 | 20 | 5 | 32 | 9 | 0.538 | 0.0234 | 122 | 4.9 |
| SWC250BH | 250 | 63 | 31.5 | ≤15 | 140 | 1035 | 218 | 150 | 168 | 140 | 8-19 | 25 | 6 | 40 | 12.5 | 0.966 | 0.0277 | 172 | 5.3 |
| SWC285BH | 285 | 90 | 45 | ≤15 | 140 | 1190 | 245 | 170 | 194 | 160 | 8-21 | 27 | 7 | 40 | 15 | 2.011 | 0.051 | 263 | 6.3 |
| SWC315BH | 315 | 125 | 63 | ≤15 | 140 | 1315 | 280 | 185 | 219 | 180 | 10-23 | 32 | 8 | 40 | 15 | 3.605 | 0.0795 | 382 | 8 |
| SWC350BH | 350 | 180 | 90 | ≤15 | 150 | 1410 | 310 | 210 | 267 | 194 | 10-23 | 35 | 8 | 50 | 16 | 7.053 | 0.2219 | 582 | 15 |
| SWC390BH | 390 | 250 | 125 | ≤15 | 170 | 1590 | 345 | 235 | 267 | 215 | 10-25 | 40 | 8 | 70 | 18 | 12.164 | 0.2219 | 738 | 15 |
| SWC440BH | 440 | 355 | 180 | ≤15 | 190 | 1875 | 390 | 255 | 325 | 260 | 16-28 | 42 | 10 | 80 | 20 | 21.42 | 0.4744 | 1190 | 21.7 |
| SWC490BH | 490 | 500 | 250 | ≤15 | 190 | 1985 | 435 | 275 | 325 | 270 | 16-31 | 47 | 12 | 90 | 22.5 | 32.86 | 0.4744 | 1452 | 21.7 |
| SWC550BH | 550 | 710 | 355 | ≤15 | 240 | 2300 | 492 | 320 | 426 | 305 | 16-31 | 50 | 12 | 100 | 22.5 | 68.92 | 1.357 | 2380 | 34 |
Når vi taler om kraftigt industriudstyr, der holder strømmen flyder pålideligt, er SWC Universal Joint-koblingen (ofte kaldet SWC Cardan Shaft Universal Joint Coupling) en ikke-forhandlingsberettiget del. Du finder det svært på at arbejde i opsætninger som rullende møller, hejsemaskiner og alle slags hårde tunge maskinsystemer - steder, hvor skære hjørner på kraftoverførsel bare ikke er en mulighed.
Dets vigtigste job? Tilslut to transmissionsaksler, der ikke stemmer op perfekt (ikke-coincident akser), og sørg for, at strømmen fortsætter med at bevæge sig uden problemer, selv når driftsbetingelserne bliver uslebne. Ingen stuters, ingen pauser - bare stabil overførsel, når det betyder mest.
Lad os nedbryde dets nøglespecifikationer, der gør denne ydelse mulig:
Gyrationsdiameter: varierer fra φ58 til φ620, der dækker en bred periode med industrielle behov. Nominalt drejningsmoment: håndtag overalt fra 0,15 kN · m op til 1000 kN · m-nok muskler til selv høje embedsmænd. Efterspørgslen. Sakse Foldvinkel: Kan tage vinkler op til 25 ° uden at kompromitterere funktionen, perfekt til skaft, som ikke kan forblive perfekt til at alligere.
Hvor skiller det sig mest ud? Tænk på rullende mølleoperationer-hvor det fungerer som en pålidelig kraftig universel ledkobling, der holder op under møllens intense pres. Eller i løft og materialehåndteringsudstyr, hvor det som en holdbar SWC Universal -ledskaft kobling holder tingene stabile, selv når belastningerne bliver alvorlige. Det fungerer ikke bare - det holder operationerne stabilt, når det bliver hårdt.
SWC Universal Joint -koblingen kastes ikke bare sammen - det er konstrueret fra bunden af at stå hårdt i industrielle omgivelser med funktioner, der øger både ydeevne og lang levetid. Lad os se nærmere på, hvad der får dens struktur til at fungere så godt.
Smart, sikkert design
I sin kerne er et integreret gaffelhoveddesign - ingen separate stykker, der holdes sammen af bolte her. Dette betyder noget, fordi det skærer ned på risikoen for, at bolte løsner eller snapper, en almindelig hovedpine med andre opsætninger. Faktisk øger dette design den strukturelle styrke med 30% til 50% sammenlignet med ældre stilarter. For enhver, der stoler på en tung maskiner universel ledkobling, betyder det færre sammenbrud, når tingene bliver intense. Det er den slags robuste universelle fælles kobling, der fortsætter med at køre glat, selv i miljøer med høj stress, hvor andre dele kan mislykkes.
Bygget til at bære belastningen
Dette er ikke dit gennemsnitlige stik. SWC-tunge universelle ledkoblinger er lavet til at håndtere alvorlig vægt-tænk minedrift, konstruktionsmaskiner og andre tunge mødere. Når du har brug for en robust universel fælles kobling, der ikke går ned under pres, er dette den, der leverer. Det handler ikke kun om størrelse; Det handler om materialer og ingeniørarbejde, der arbejder sammen for at tage på heft uden at bære hurtigt ud.
Bevæger strømmen effektivt
Har du nogensinde spekuleret på, hvor al energi går i store industrielle opsætninger? Ikke meget bliver spildt her. Dette universelle ledkoblinger med højt drejningsmoment rammer effektivitetsniveauer op til 98,6%, hvilket betyder mindre energi mistet som varme eller friktion. For operationer, der ønsker at reducere omkostningerne, er det en stor sejr. Det er den slags effektive universelle ledkobling, der gør en forskel i store kraftoverførselssystemer, der fungerer som en pålidelig universel fælles kobling, der holder energiregninger i skak.
Stille og stabil
Højt maskiner kan være et reelt problem, især i rum, hvor støj betyder noget. SWC Universal-fælles kobling holder tingene rolige, med støjniveauer normalt mellem 30-40 dB (A)-quieter end en normal samtale. Det gør det til en stor universal fælles kobling med lavt støj til miljøer, hvor det er vigtigt at holde lyd nede, uden at ofre den pålidelighed, du har brug for. Uanset om det er i et fabriksgulv eller et præcisionsværksted, får denne glatkørende universelle fælles kobling jobbet gjort uden ketsjeren.
SWC-BH Standard Flex Welding Type Universal-kobling er ikke kun en anden del-det er en arbejdshest, der er bygget til at bevæge effekt effektivt, selv når maskiner er under kraftig stress. Lad os nedbryde, hvor det virkelig skinner.
Tag for eksempel tunge maskiner og konstruktionsudstyr. Når du har at gøre med ekstreme belastninger og konstante vibrationer - tænk gravemaskiner eller bulldozere - kobler denne kobling ikke ned. Dens svejste design tilføjer ekstra sejhed, så det overgår flimrende indstillinger, der kan knække eller slides ud af al den bevægelse. Det er den slags universelle kobling med højt drejningsmoment, der holder strømmen flyder, uanset hvor grov jobbet bliver.
I fabrikker, især på transportelinjer og monteringssystemer, betyder præcisionsspørgsmål. Denne universelle kobling i industriklasse håndterer vinkler og skift i justering uden at springe over et slag og holde hastighederne stabile. Det betyder mindre tid på at fastlægge sammenbrud og mere tid med at holde produktionen på sporet. Ingeniører kan lide det, fordi det tilpasser sig aksiale, radiale og kantede ujævnheder - små skift, der kan smide andre dele af.
Over i bilindustrien og transporten har drivaksler brug for noget pålideligt for at passere strømmen jævnt. SWC-BH passer lige ind, hvad enten det er i lastbiler, tog eller andre køretøjer. Dens flex -svejsedesign gør det nemt at slot i eksisterende opsætninger, der håndterer høje hastigheder uden at skære hjørner på sikkerhed. Det er den universelle kobling til drivakslen til at holde tingene i bevægelse.
Marine og offshore arbejde er hårdt på udstyr - saltvand, hårdt vejr, uforudsigelige belastninger. Denne kobling holder også sin egen her. Som en korrosionsbestandig marin universalkobling står den op til saltspray og ru hav, hvilket holder skibsmotorer og hjælpemaskiner, der kører konsekvent. Ingen rustrelaterede fiaskoer, ingen uventede nedlukninger.
Opsætninger af vedvarende energi som vindmøller og solsporere har brug for dele, der ikke spilder energi. SWC-BH trækker op som en universal kobling med vedvarende energi, overfører strømmen med knap noget tilbageslag. Det opfylder globale kvalitetsstandarder, så uanset om det er i en vindmøllepark i Europa eller et solanlæg i Asien, leverer det.
Hos Raydafon sælger vi ikke bare disse koblinger - vi skræddersy dem. Brug for en bestemt størrelse, materiale eller drejningsmomentkapacitet? Vores team justerer SWC-BH, så den passer til dine nøjagtige behov. Nå ud, så hjælper vi dig med at få mest muligt ud af dit system.
Når du leder efter nogen til at stole på med mekaniske komponenter-især ting som SWC-BH Standard Flex Welding Type Universal Cobing-er Raydafon ikke bare en anden mulighed. Vi er en producent, der lever og ånder kvalitet, og det viser i hver del, vi laver.
For det første er kvalitet ikke en eftertanke for os. Vi bruger top-tier ingeniørteknikker og lægger hver enkelt universel ledkobling-hvad enten det er en høj-drejningsmoment til tunge maskiner eller en industriel kvalitet til fabriksopsætninger-gennem strenge kontroller. Hver del opfylder ISO 9001 standarder, og vi tester dem hårdt: ekstreme belastninger, ru forhold, uanset hvad din branche kaster på det. Målet? Ingen uventede fejl, mindre risiko for dine operationer og en kobling, der holder dine systemer til at køre glat.
Så er der tilpasningen. Lad os være ægte - ingen to job er de samme. Måske har du brug for en universel kobling med drivaksel med specifikke dimensioner eller en marin fremdrift universel kobling lavet af korrosionsbestandigt materiale eller endda en universal kobling af vedvarende energi, der er indstillet til lige det rigtige drejningsmoment. Vi får dig ikke til at passe til en "one-size-fit-all" del. Fortæl os, hvad du har brug for, og vi skræddersy det til at slot lige ind i din eksisterende opsætning - hvad enten det er i bil-, marine- eller sol/vindsystemer.
Og vi får også disse omkostningsspørgsmål. Du skal ikke være nødt til at vælge mellem en god kobling og en rimelig pris. Vi har optimeret vores forsyningskæde og skaleret vores produktion, så vi kan tilbyde konkurrencedygtige satser på endda specialiserede dele-som den marine fremdrift universel kobling eller industriel model med høj drejningsmoment-uden skærehjørner på kvalitet. Det handler om at give dig værdi, der varer, ikke kun en billig del, der mislykkes hurtigt.
Vores team forsvinder heller ikke, når du rammer "orden". Fra det første opkald-når du prøver at finde ud af, hvilken universal fælles kobling, der fungerer bedst for dit vedvarende energiudstyr eller fabrikslinje-til eftersalgsstøtte Hvis du har spørgsmål, er vi her. Vi har mange års industri-know-how, så vi kan guide dig til det rigtige valg, hjælpe dig med at undgå nedetid og sørge for, at din kobling gør nøjagtigt, hvad du har brug for det.
Hos Raydafon sælger vi ikke bare dele - vi bygger partnerskaber. Vi ønsker at være det team, du har tillid til for at holde dine operationer fremad, med universelle fælles løsninger, der fungerer så hårdt som du gør. Hvis du har specifikke behov, skal du nå ud til vores specialister i dag - lad os tale om, hvordan vi kan hjælpe.
Adresse
Luotuo Industrial Area, Zhenhai District, Ningbo City, Kina
Tlf


+86-574-87168065


Luotuo Industrial Area, Zhenhai District, Ningbo City, Kina
Copyright © Raydafon Technology Group Co., begrænsede alle rettigheder forbeholdt.
Links | Sitemap | RSS | XML | Privatlivspolitik |
